Hely- és anyagtakarékos hő- és füstelvezető légcsatornák

Az építész és gépész tervezők a tervezési folyamat során rendkívül gyakran küzdenek a hő- és füstelvezető légcsatornák elhelyezésével. Ezek a légcsatornák az épület hétköznapi működésében rendszerint nem játszanak szerepet, „csak” tűzeset során kell működniük, ugyanakkor helyigényük a tűzben keletkező nagy mennyiségű hő és füst elvezetése miatt jelentős. Erre a problémára nyújt – Európa-szerte újdonságnak számító – minősített megoldást a Promat a háromoldalú hő- és füstelvezető légcsatornáinak bevezetésével.
Alapvetően kétféle hő- és füstelvezető légcsatorna létezik: az úgynevezett egy tűzszakaszos (single) változat nyomvonala sehol sem léphet át idegen tűzszakaszba, míg a több tűzszakaszos (multi) légcsatorna tetszőleges számú tűzszakaszt keresztezhet. Az Országos Tűzvédelmi Szabályzat az első típussal szemben csak integritási (E) és füsttömörségi (S) követelményeket támaszt, hiszen a légcsatorna a kialakított single nyomvonal miatt nem képes átvezetni a hőt idegen tűzszakaszba. A több tűzszakaszos rendszernek a fenti követelmények mellett a hőszigetelésről (I) is gondoskodnia kell. A Promat mindkét légcsatornatípusra kifejlesztette és akkreditált uniós laboratóriumban minősíttette a vasbeton födémről függeszthető 3 oldalú, akár EI 120 S tűzállósági teljesítményű (kétórás) megoldásait.
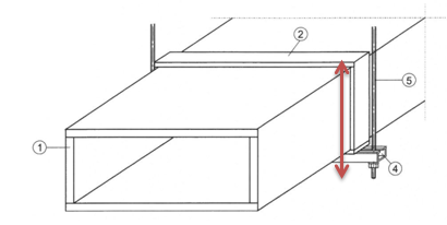
Egy általános 4 oldalú hő- és füstelvezető légcsatorna minősített függesztőelemeket is igényel,

míg a 3 oldalú változat esetén az azonos tűzállósági teljesítményű vasbeton födém alkotja a légcsatorna felső, vízszintes oldalát.

Így a légcsatorna felső oldalfalának megépítésére, illetve az idomcsatlakozások felső tokozására nincs szükség.
Érdemes azt is megfigyelni, hogy a 3 oldalú kialakításnál a légcsatornát tartó külső acél függesztőrendszer is szükségtelenné válik, hiszen a szögacélok segítségével a födémlemezhez rögzített légcsatorna önhordó lesz, ami a kalcium-szilikát Promatect tűzvédő lapok nagyfokú stabilitásának köszönhető. Mindez jelentős hely- és anyagtakarékosságot eredményez, hiszen azonos hasznos keresztmetszet mellett lehetővé válik, hogy a légcsatornát jó néhány centiméternyivel feljebb „toljuk”, vagy azonos függőleges és vízszintes helyigény mellett nagyobb légcsatornát alakítsunk ki (tekintetbe véve a minősített legnagyobb keresztmetszetet).
A helytakarékos légcsatornák alkalmazása elsősorban mélygarázsokban ajánlott, hiszen ott a csekély belső szintmagasság miatt szó szerint minden centiméter számít, de természetesen minden épülettípusban használhatók, ahol közvetlenül a vasbeton födém alatt vezethető a hő- és füstelvezető légcsatorna.



